Repairing and Mounting Instruction for SU Aggregate.
(V-Gear ,P-Magnet)
In order to avoid too long stop of the machine when pattern aggregate is fails,you may put this pattern aggregate to operation again with the help of this mounting instructions:
The individual steps of mounting are subdivided as follows;
1. Demount of pattern aggregate.
2. Exchange and adjustment of drive or intermediate wheel.
3. Mount guiding elements (guides and slides piece).
4. Mounting and adjustment of the switching and locking lever.
5. Mount distribution plate and piston rod.
6. Verify distribution plate and measure out magnetic attraction ability.
Auxiliary means for disassemble or mounting respectively;
Tools,sliding caliper,thickness gauge, spring balance and magnet tester (setting gauge for drive wheels can b
Important : Its absolutely necessary to observe the following prescriptions.In order to avoid any damage of pattern aggregate during mounting and disassembling work,please use rubber or plastic mallet.
In order to avoid any difficulties when assembling the pattern aggregate after demounting ,please take care of each dismounted parts being deposited separately and assorted to its appropriate fixing elements,such as distance washer,bearing bush etc,according to demounting sequence.
e made available upon request).
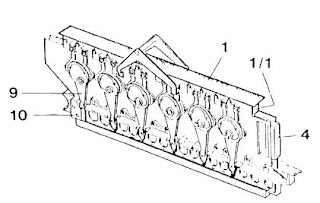
Mechanical and Electrical Switching Elements of Pattern Aggregate with Permanent Magnets.
2 = carrying handle.
3 = magnets.
4 = hand grip
5 = guide pieces.
6 = slides pieces.
7 = T-shaped guide ledge.
8 = locking lever.
9 = piston rods (switch units).
10= stroke.
11= switch lever.
12= right carrier wall.
13= left carrier wall.
14= drive unit ( drive and intermediate wheels).
Gauges and Measuring Appliances

15 = sliding caliper.
16 = setting gauges V gear series gear.
17 = feller gauge.
18 = magnet tester.
19 = spring balance.
20 = torque wrench F 3,5 - 17 kP ,F 15 - 80 kP.
Demounting a Pattern Aggregate(e.g.: defect on driver or intermediate wheel)
1. Lay pattern aggregate on the bench according to the opposite illustration.
2. Loosen fixing screw (2/2) from the carrying handle (2) and remove with the distance bushes (2/1).
3. Screw the distribution plate (1) off and demount the magnetic ledge (1/1).
4. Bring the piston rod (9) to their highest position by distorting the eccentric disk (9/2).Remove seeger ring (9/2) and distance disk.Now the piston rod (9) can be taken off.
5. After removing the piston rod (9) the various switching (11) and locking lever (8) can be examined for wearing places.
The stroke (11/4) must not be loosened for shifted since otherwise switching faults may arise thereof.

6. The switching lever or locking lever respectively can be taken off the bearing rivet (11/1) and (8/1) after having removed the seeger ring (8/2),the distance washer and the bearing bush (8/4).7. Draw off the sliding pieces (6).Unscrew the guiding pieces (5) and the stroke (10).Remove the tapered pin (10/1).
8. Unscrew the the T-shaped guiding ledge (7) and remove it.Loosen screw of carrying wall (12).Draw the carrying wall (12) steadily off the ball bearing and take off the hand grip (4).Now defective toothed wheels (14) can be exchange.
Exchange and Adjustment of the Driver or Intermediate Wheel
Three drive wheel and (14/1) and two intermediate wheel (14/2) from a drive unit.Assembling is done in following order:
1. Put in the set of drive wheel (14/1).the intermediate wheel (14/2) has been taken out.
2. The groves (14/3) of a set of drive wheels have to show up upward and in the direction of the handgrip (4).

3.With the aid of sliding caliper (15) or the setting gauge (16) the drive wheel (14/1) are adjusted,Measurement see the illustrations.

3a. With the cylindrical pins the setting gauge (16) is put into the groves (14/3) of the drive wheel (14/1).Doing so please keep the position of the groves as describe here above.
4. Insert the intermediate wheel (14/1) and check again the setting gauge 126,7 mm or else correct accordingly.
5. All the drive units (14) are mounted and set ,the carrying wall (12) can equally be pressed on to bearing places and screwed on.

Mount and Adjust Guiding Element1. Screw on the T-Shaped guide rail (7).
2. Mount stroke (10) and beat in the tapered pins (10/1).
3. Screw on the guiding pieces ( 5).
Important :
Insert the sliding piece (6) in the exact order and direction.
Numbering gauge of sliding pieces (6) at the pattern aggregate with :
6 piston rods = gauges "1 - 2 - 4 - 8 - 16 - 16"
7 piston rods = gauges "0 - 1 - 2 - 4 - 8 - 16 - 16"
4. The sliding piece (6) are marked with guide numbers "(0)-1-2-4-8-16-16".Push in the sliding piece (6) according to their numbering '(0)-1-2-4-8....etc'.
Care should be taken that setting of air gap is adjusted between the slides surfaces on the sliding (6) and the guiding pieces (5).
5. By pressing guiding pieces (5) upward and downward ,the sliding pieces (6) can be adjusted lighter or firmer.
6. After adjusting,re-tighten all the screw connections.
Mounting and Adjustment of the Switching (11) and the locking (8)
When mounting take care for the right and left lever.Left lever to be mounted to the left side of aggregate (13),right lever to be mounted to the right lever (12).
1. Stick the switching (11) and locking lever (8) to the bearing rivets (11/1) and (8/1).Put the bearing bushes (8/4) and distance washer (8/3) and ensure with the aids of seeger ring (8/2).Draw springs (11/2) and (8/5) to be hanged on.
2. Now the bearing bushes (8/4) must be turn able on the bearing rivets (11/2) and (8/1) within appropriated switching (11) or locking lever (8).see the illustrations.
3. If not possible to turn the bearing bush (8/4) or if there too much play laterally of the lever,so the distance washer (8/3) must be changed for a thinner or a stronger one.
Mount Distribution Plate and Piston Rods.
Mount distribution plate (1) together with magnetic holder ledge (1/1) and screwed together.
1. Mounting of the piston rods (9) is done from the stroke (10) in direction to the hand grip (4).Piston rod (9) are marked on the cam disk (9/1) with L (left) and R (right).

2. Turn the cam disk (9/1) of the piston rod (9) downward (piston rod is at its up-most position).Push on the piston rod (9),doing soo lift the jack (9/3) in order to allow the nose of the jack (9/3) to engage to the grove.(14/3).
3. Press the left switching lever (11) away from the magnet (3),push the piston rod (9) further and let the switching lever (11) engage on the cam disk (9/1).
4. Thereafter,press the locking lever (8) slightly to the left and push the piston rod (9) up to the stroke.Tighten the piston rod (9) with the aids of distance washer (9/2) 0,2 mm to 0,5 mm and the seeger ring (9/2).
Important : Do not expand too much the traction springs of the switching and locking lever.
5. The stroke (11/4) should be not re-adjusted since otherwise faulty switching may be occurs.
If nevertheless the stroke (11/4) has to be re-adjusted with the regards to the switching lever (11) ,the following points must be observed.
- Turn the cam disk (9/1) until the ball bearing (11/3) is positioned at the beginning of the cam disk,see illustration.
- Press the stroke (11/4) to the switching lever (11) and tighten firmly.
- The bearing (11/3) should be slightly turn along with the cam disk (9/1).
- Thereafter check the switching movement of the switching lever (11).

6. When all piston rods (9) are mounted ,the switching lever (11) are set with regard to the magnet (3).
Distort the cam disk with the piston rod until the switching lever (11) which has to be set has reached the closest point to the magnet (3).
7. With the aid of thickness gauge (17) of 0,05 mm the distance is set.
The measurement of 0,05 mm is obtained by displacing the magnet (3) after loosening the fixing screws .Tighten the screws and check the measurement.
Important : Too close the position of the switching lever (11) to the magnet (3) means:ball bearing (11/3) at the lever may break.
Wrong connection may occur if the distance is too large ,or if the magnet (3) are not positioned parallel to the switching lever (11).
8. Insert the distance bushes (2/1) and screw on the hand grip (2) with the aid of fixing screws (2/2).
9. Re-tighten all of the screws connection,check the pattern aggregate for all mechanical functions.Pattern aggregate can be inserted to the SU drive.
10. Before assembling,bring pattern aggregate and step gear to their basic position.See basic adjustment of the pattern aggregate to the step gear.
Verify Distribution Plate and Measure Magnetic Supporting Force.
1. The electronical functions of distribution plate (1) are checked at SU gear with the magnetic tester (18).
2. The supporting force of the magnet (3) on the pattern aggregate can be controlled with of soring balance (19) as follows:
- A. The pattern aggregate is connected with the magnet tester (18) ,see also working instruction of magnet tester).
- B. Activate the appropriate magnets to be controlled (3).Make a machine running on inching,the piston rods (9) move to the front into working position and the switching lever (11) move towards to the magnet (3).Keep on turning until the switching lever (11) lies free against the cam disk (9/1).
- C. Press the spring balance (19) in the height of traction spring (11/2) toward the switching lever (11) until the switching lever (11) is release from the magnet (3).
- D. The supporting force obtained can be read on the spring balance (19).
3. After having terminated control,the pattern aggregate can be connected to the power supply of the machine.
4. After subsequent test run the pattern aggregate is ready for operation.
















0 comments:
Post a comment